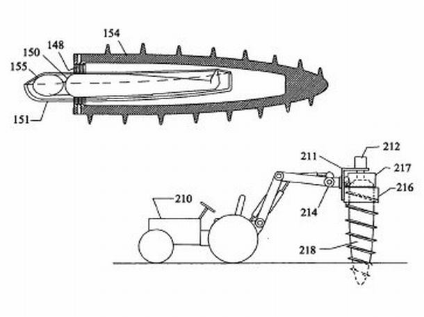
The idea is to prepare a coffin that can be buried without a pit. It looks like a screw shaped box that can drill its way through the surface of…
The idea is to prepare a coffin that can be buried without a pit. It looks like a screw shaped box that can drill its way through the surface of…